How to Install an Expandable Folding House – Detailed Step-by-Step Guide with Images
At Xiamen Sunfine Architect & Construction Co., Ltd., we don’t just sell expandable and folding container houses – we manufacture them.
With years of experience in modular housing production, Sunfine has helped hundreds of global clients successfully install expandable homes in countries such as Australia, New Zealand, and the USA.
This detailed step-by-step guide is written by our engineering and installation team, showing you how to unfold and install a Sunfine expandable folding house safely and efficiently.
Before we start, remember that every Sunfine house can be fully customized — from layout and color to insulation and fittings.
Click here to design your own expandable house →
Let’s begin with what makes a Sunfine folding house so easy to install.
Installation Guide for 20ft Foldable Expandable House
Table of Contents
1. Product Introduction and Overview
2. Pre-Installation Precautions and Safety Measures
3. Required Accessories for Installation
4. Necessary Tools, Heavy Machinery, and Assistance for Installation
5. Installation Steps and Methods for the Expandable House
Product Introduction and Overview
20ft Folding Expandable House View

Pre-Installation Precautions and Safety Measures
Carefully Read the Installation Manual
Before starting installation, thoroughly read the installation manual, adhere to local laws, regulations, industry standards, and labor protection guidelines.
Wear Personal Protective Equipment (PPE)
Ensure proper use of personal protective equipment to prevent or minimize injuries or occupational hazards during the installation process. Examples of PPE include:
l Safety helmets
l Protective eyewear
l Protective clothing
l Non-slip insulated shoes
l Non-slip insulated gloves
l Dust masks or gas masks
Select an Appropriate Installation Site
Choose a solid, stable surface to place or install the product. Do not set up on:
l Loose, damp, uneven, or sloping ground
l Areas prone to collapse
l Locations near tall trees, large rocks on slopes, or beneath high-voltage lines
l Sites with flammable, explosive, corrosive, or harmful substances
Prepare the site by:
l Removing weeds
l Leveling, compacting, and hardening the ground
l Ensuring proper drainage and moisture prevention to avoid ground collapse
Weather and Safety Considerations
l In compliance with the Labor Law of the People’s Republic of China and Safety Regulations for High-Altitude Work, cease all work during severe weather conditions, including winds exceeding Level 4, rain, snow, heavy fog, or extreme heat.
l Do not alter the structural framework of the product without authorization.
Required Accessories for Installation
(Note: The following list is for reference only. The actual components may vary based on the room configuration specified by the customer.)

Required Tools, Heavy Machinery, and Installation Assistance
Due to the weight of the product, the installation process requires:
Tools Needed

Expandable House Installation Steps and Methods
1.Unloading the Cargo
Before installation, remove all items from the shipping container.
2.Positioning the Product
Place the product on a pre-prepared, hardened ground surface. Ensure the location is finalized, as the product cannot be moved after placement.
3.Side Fixed Panel Removal
Once the product is placed, locate the fixed panels on the sides. Loosen the screws on the fixed panels and slide them outward to free the structure.
4.Move the Fixed Panels
After loosening, move the fixed panels to both sides to prepare for further installation.
5.Lift the Side Roof
Raise the side roof upwards carefully.
6.Elevate the Top Panel
Lift the top panel and secure it using support rods. Ensure personnel hold the support rods firmly to prevent injuries.
(If support rods are unavailable, use a crane to lift and hold the top panel in place.)
7.Secure the Bottom Latch
Locate the latch on the bottom panel and push it downward to unlock.
8.Lower the Bottom Panel
Slowly lower the bottom panel until it aligns flush with the base frame of the expandable house.
9.Unfold the Side Large Wall
Expand the side large wall to its full position.

10.Unfold the Rear Small Wall
Carefully expand the rear small wall into its designated position.

11.Unfold the Front Small Wall
Expand the front small wall and secure it in place.
12.Expand the Left Side of the House
Follow the same steps used for the right side to expand the left side of the house.
13.Screw Holes and Fixing Points
Small Walls: Screw holes are located at the top and bottom of the front and rear small walls.
Large Walls and Roof: Screw holes are present at designated positions on the left and right sides.
Tools and Screws: Use the screws and tools as indicated in the provided diagrams. Ensure all connections are securely fastened.

14.Installing Yellow Sealing Strips, Structural Adhesive, and Stainless Steel Panels
Yellow Sealing Strips: Cover the folding seams on the floor with the yellow sealing strips.
Structural Adhesive: Apply structural adhesive along the installed yellow sealing strips.
Stainless Steel Panels: Press and secure the stainless steel panels over the adhesive to finalize the floor.
15.Using Structural Adhesive and Waterproof Tape
Structural Adhesive: Apply adhesive at the junctions of the side base and side large walls to ensure proper sealing and waterproofing.

Waterproof Strips: Attach waterproof strips at the seams between the side roof and the main roof for enhanced waterproof sealing.
(Refer to diagrams for precise application locations.)
16.Bedroom Light Installation
Install bedroom lighting fixtures according to the provided instructions and ensure all connections are secure.

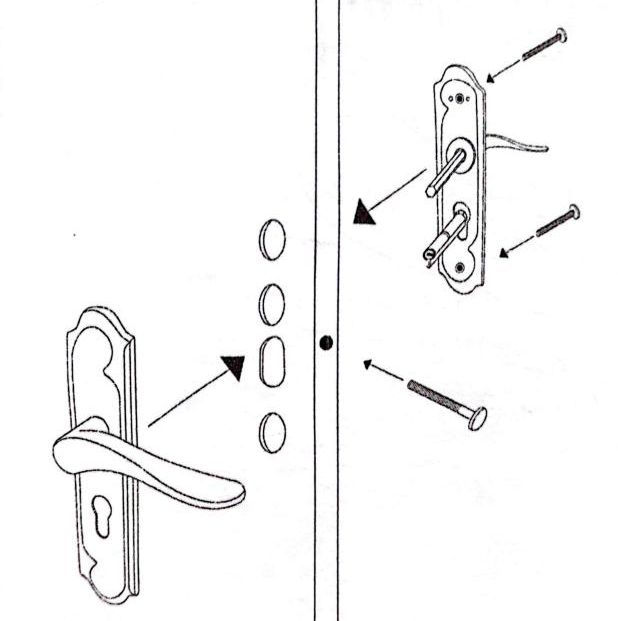
17.Bedroom Door Lock Installation
Mount and secure the door lock on the bedroom door as per the provided lock assembly instructions. Ensure proper alignment and functionality.
18.Socket and Lighting Switch Installation Guide
(Based on Chinese National Standards. For non-standard configurations, this guide is for reference only.)

(1)Socket Installation Steps:
1. Dismantle the socket to access the installation panel.
2. Locate the wiring holes at the back of the panel. Connect the wires as shown in Diagram 2.
3. Insert the installation panel into the socket box and secure it using installation screws.
4. Attach the front panel by snapping it into place to complete the installation.
(Refer to diagrams for detailed wiring and installation steps.)
Diagram 1
Diagram 2
(2)Lighting Switch Installation
1.Disassemble the Lighting Switch
Begin by dismantling the lighting switch to access the installation panel.
2.Locate the Wiring Holes
On the back of the installation box, you will find wiring holes. Follow Diagram 2 to correctly wire the switch.
3.Install the Wiring
After connecting the wires, insert the installation panel into the back box.
4.Secure the Panel
Tighten the panel in place using the installation screws to ensure it's securely fixed.
5.Attach the Cover and Front Panel
Once the panel is securely in place, snap the cover and front panel onto the box to complete the installation.
(Refer to Diagram 2 for wiring details and visual instructions.)
19.Indoor Ceiling Bracket Installation Instructions
1.Positioning the Indoor Bracket
Place the indoor bracket on the folding seam of the ceiling, ensuring the raised side is facing downward.
2.Fixing the Indoor Bracket
Use an electric drill and screws to securely attach the indoor bracket along the seam. Ensure the bracket is tightly fastened to prevent movement.
(Refer to diagrams for precise placement and positioning.)
Indoor folding installation position
Contact Sunfine for Your Customizable Expandable House Solutions
At Sunfine, we specialize in designing and building expandable container houses and expandable homes tailored to your specific needs. Whether you're looking for a foldable house or a folding house that offers flexible and efficient housing solutions, we have the expertise and experience to deliver high-quality, durable products.
Please contact us to discuss your requirements or for more details on our customizable expandable houses. We look forward to working with you!